Свердло вкорочене підвищеної жорсткості з механічним кріпленням змінних багатогранних твердосплавних пластин.

Свердла рейкові укорочені підвищеної жорсткості з механічним кріпленням змінних багатогранних твердосплавних пластин призначені для свердління на верстатах з ЧПУ, автоматичних ліній і агрегатних верстатах, що відповідають встановленим для них нормам точності і жорсткості, з потужністю привода 7...30 кВт. Радіальна жорсткість системи "верстат-пристосування-інструмент-деталь" (СНІД) повинна бути не менше 8000...15000 Н/мм в залежності від діаметру свердла.
Великою перевагою є застосування свердел підвищеної жорсткості при свердлінні отворів в об'ємно загартованих залізничних рейках на переносних верстатах типу С-1, С-2, С-3, РСМ-1м, 3023, 3028 як в стаціонарних, так і в польових умовах, а також на спеціальних рельсорезных - свердлильних верстатах типу МП6-1515.

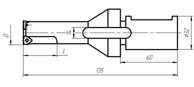
Свердла випускаються з циліндричним хвостовиком, мають внутрішній підведення СОЖ і оснащені фиксируемыми гвинтами пластинами з центральним отвором. Застосування свердел дозволяє отримувати не тільки отвори номінального діаметра, але і виробляти розточування при радіальному зміщенні свердла, а також зенкування. Великою перевагою є можливість свердління при засверловке з косою, опуклою або увігнутою поверхонь.
Як мастильно-охолодної рідини при роботі свердел використовується 5% розчин эмулсола у воді (ГОСТ 1975-75) з витратою 20...60 л/хв тиск 0,2 МПа. МОР у вигляді струменів відбивається від дна отвору, охолоджує ріжучі кромки і транспортує стружку на стружкових канавках.
При використанні свердел з твердосплавними пластинами, продуктивність зростає в 2...2,5 рази в порівнянні зі стандартними свердлами зі швидкорізальної сталі.


